経済・時事
シャープ「AQUOS ZETA」がワケアリ特価約1.5万円!






Amazon EchoやGoogle Home、スマートスピーカーが米セールでやたら見かけることに

新MacBook Airを買う理由 MacBook、MacBook Proと比較

第198回






英VR企業、米病院と提携してVR手術シミュレーションを開発

IMAGICA GROUPのベンチャーキャピタル事業、およそ14億円の出資約束金額で組成を完了

スウェーデンのゲームスタジオBublar、AR/VR企業Voblingを買収

VR活用でヘリコプターの開発期間が短縮

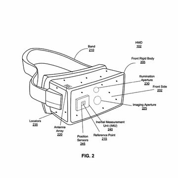
OculusがVRデバイスに関する特許公開

VRがビジネス英会話スクールに導入
